Компания LG Electronics получила патент на любопытный смартфон, оборудованный гибким дисплеем: возможно, прототип такого устройства увидит свет в обозримом будущем.
Документ, опубликованный на сайте Управления США по патентам и торговым маркам (USPTO), имеет лаконичное название «Мобильный терминал» (Mobile terminal).
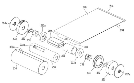
Как можно видеть на представленных иллюстрациях, речь идёт об аппарате в цилиндрическом корпусе. Внутри расположится скручивающийся в небольшой рулон гибкий экран.

Пользователи смогут вытягивать панель на нужную дину — скажем, для быстрого просмотра сообщений или для полноценной работы с мобильными приложениями.
В свёрнутом состоянии небольшая секция дисплея будет всегда оставаться видимой: здесь могут отображаться время, информация об уровне заряда аккумуляторной батареи и какие-либо уведомления.

В верхней части цилиндрического модуля предусмотрены динамик и камера. Последняя, судя по патентным изображениям, имеет классическую однокомпонентную конфигурацию.
В целом, аппарат выглядит весьма необычно. Суждено ли ему появиться на коммерческом рынке, пока не ясно.
Источник: 3dnews.ru








